Μπορεί η δορυφορική επικοινωνία να μπήκε στη ζωή μας με το iPhone 14, όμως η Apple φαίνεται πως αναζητά τον τρόπο να την απογειώσει – κυριολεκτικά. Μια πατέντα της εταιρείας, που κατατέθηκε αρχικά το 2024 και ήρθε ξανά στο φως της δημοσιότητας, περιγράφει ένα επαναστατικό αξεσουάρ: μια έξυπνη θήκη με ενσωματωμένες κεραίες υψηλών επιδόσεων.
Σχεδιασμός που «κοιτάζει» τον ουρανό
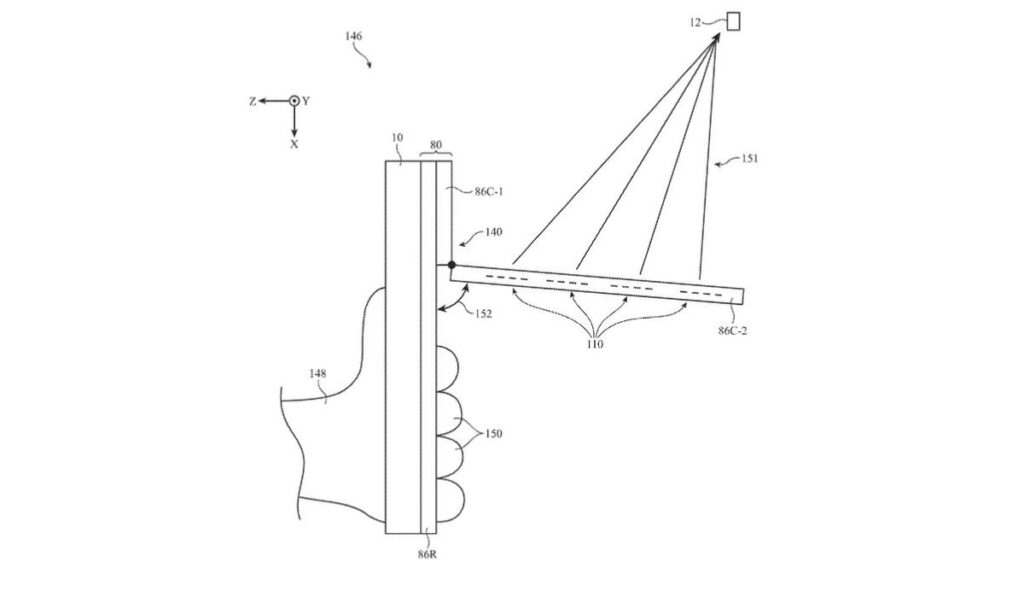
Το στοιχείο που κλέβει την παράσταση στα σχέδια της ευρεσιτεχνίας είναι η πτυσσόμενη κατασκευή. Η θήκη διαθέτει ένα κινητό τμήμα που ανοίγει προς τα πάνω, στρέφοντας την εσωτερική συστοιχία κεραιών απευθείας προς τον ουρανό.

Ο σχεδιασμός αυτός λύνει δύο βασικά προβλήματα:
- Λήψη σήματος: Η κατεύθυνση των κεραιών προς τους δορυφόρους γίνεται με ακρίβεια, εξασφαλίζοντας σταθερή σύνδεση με ολόκληρα δίκτυα δορυφόρων.
- Ανθρώπινη παρεμβολή: Επειδή οι κεραίες βρίσκονται στο αναδιπλούμενο τμήμα, ο χρήστης μπορεί να κρατά τη συσκευή χωρίς να μπλοκάρει το σήμα με την παλάμη του (το γνωστό φαινόμενο “death grip”).
Από το iPhone στο iPad
Η Apple δεν περιορίζει το concept μόνο στα τηλέφωνα. Η πατέντα αναφέρει ρητά τη συμβατότητα και με το iPad, κάτι που θα μπορούσε να μετατρέψει το tablet σε ένα πανίσχυρο εργαλείο επικοινωνίας σε απομακρυσμένες περιοχές, εκεί όπου τα επίγεια δίκτυα 5G και Wi-Fi είναι ανύπαρκτα.
Η σύνδεση της θήκης με τη συσκευή θα γίνεται είτε μέσω ειδικής υποδοχής ραδιοσυχνοτήτων, είτε μέσω τεχνολογιών όπως το NFC, επιτρέποντας την εύκολη τοποθέτηση και αφαίρεσή της, ακριβώς όπως μια κοινή θήκη προστασίας.
Κρατήστε μικρό καλάθι: Όπως συμβαίνει με κάθε δίπλωμα ευρεσιτεχνίας, η κατάθεσή του δεν εγγυάται την κυκλοφορία του προϊόντος. Συχνά οι τεχνολογικοί κολοσσοί «κατοχυρώνουν» ιδέες ως απόδειξη concept (proof of concept) και όχι ως άμεσα πλάνα παραγωγής.















